稳态平板法测定绝热材料导热系数实验台
稳态平板法测定绝热材料导热系数实验台
1稳态平板法测定绝热材料导热系数实验台实验功能:
本实验台根据一维稳态情况下通过平板的导热量,平板两面的温差成正比和平板的厚度成反比,以及和导热系数成正比的关系设计的。通过实验测定实验材料导热系数与测试的关系。
2.稳态平板法测定绝热材料导热系数实验台配置:
电加热器、主加热器(100Ω)、辅加热器(50Ω)、上下水保温板(δ3铜器板)、测温热电偶(K分度)、试件(塑料板300×300×10)、防腐水箱、防腐水泵、温度跟踪控制装置、温度传感器,智能温度数显仪表、智能数显电压表、水箱、电流表、温度跟踪仪、系统电运行控制箱、双面冷却实验台本体、可移动式实验台支架等。
3.稳态平板法测定绝热材料导热系数实验台主要用途:
应用一维稳态导热过程的基本原理来测定材料导热系数方法,可用来进行导热系数的测定实验,测定材料的导热系数及其温度的关系
4.稳态平板法测定绝热材料导热系数实验台技术参数:
|
类别 |
数值 |
类别 |
数值 |
|
电压 |
0~50V |
温度 |
0~60℃ |
|
电源 |
220V |
功率 |
500W |
|
测量功率 |
0~25W |
电压 |
0~220V |
|
外形尺寸 |
900×500×1200(㎜) |
重量 |
40㎏ |
|
工作环境 |
实验室常温、通风干燥处 |
5.稳态平板法测定绝热材料导热系数实验台使用说明书:
一、实验目的
1、巩固和深化稳定导热过程的基本理论。学习用平板法测定绝热材料导热系数的实验方法和技能。
2、测定实验材料的导热系数。
3、确定实验材料导热系数与温度关系。
二、实验原理
导热系数是表征材料导热能力的物理量。对于不同的材料,导热系数是各不相同的;对于同一材料,导热系数还会随着温度、压力、湿度、物质的结构和重度等因素而变异。各种材料的导热系数都用实验方法来测定,如果要分别考虑不同因素的影响,就需要针对各种因素加以实验,往往不能只在一种设备上进行。稳态平板法是一种应用一维稳态导热过程的基本原理来测定导热系数的方法,可以用来进行导热系数的测定实验,测定材料的导热系数及其和温度的关系。
实验设备是根据在一维稳态情况下通过平板的导热量Q和平板两面的温差Δt成正比,和平板的厚度δ成反比,以及和导热系数l成正比的关系来设定的。
我们知道,通过薄壁平板(壁厚小于十分之一壁长和壁宽)的稳定导热量为:
三、实验装置及测量仪表
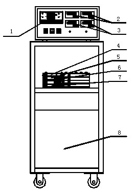
平板法测定绝热材料导热系数的实验装置如图1所示。
|
1、智能巡检仪 |
2、主加热、辅加热数显电压表 |
|
3、主加热、辅加热数显电流表 |
4、上水套 |
|
5、试件 |
6、加热平板 |
|
7、下水套 |
8、储水箱、水泵 |
被测实验材料作成二块方形薄壁平板试件,面积为300×300(mm²),实际计算面积F为200×200(mm²),板的厚度为20(mm)。平板试件分别被夹紧在加热器与上下水套的冷面之间。加热器的上下面和水套与试件的接触面都设有铜板,以使温度均匀。利用薄膜式加热片实现对上下试件热面的加热,而上下导热面积水套的冷却是通过循环冷却水来实现的。在中间200×200(mm²)部位上安装的加热器为主加热器。为了使主加热器的热量能够全部单向通过上下两个试件,并被通过水套的冷水带走,在主加热器四周[即200×200(mm²)]之外的四侧设有四个辅助加热器和两个热电偶t5、t6,利用t5、t6与温度控制器使主加热器以外的四周保持与中间主加热器的温度一致,以免热流量向旁侧散失。主加热器的中心温度t1或(t2)用两个热电偶(埋设在铜板上)来测量;而在两个试件的冷面中心分别设置热电偶t3和t4。进行实验时,可以通过热电偶t1或t3和热电偶t2或t4测量出一个试件的两个表面的中心温度。(如图2所示)
温度是利用温度数显表和转换开关来测量的(见图1)。主加热器的电功率是用数字电压表指示值与主加热器阻值乘积计算(该加热器冷阻与热阻一致),即P=Q=U²/R(W),R为主加热器阻值。
【附】实验台主要参数
1、实验材料:
2、试件外形尺寸:260×260(mm²)
3、导热计算面积:200×200(mm²)
4、试件厚度δ:20mm
5、主加热器电阻值:100W
6、辅助加热器(每个)电阻值:50W
7、热电偶材料:镍铬—镍硅
8、试件最高加热温度:≤80℃
四、实验方法和步骤
1、将两个平板试件安装在加热器的上下面,试件表面应与铜板严密接触,不应有空隙存在。在试件、加热器和水套等安装入位以后,应在上面加压一定的重物,以使它们都能紧密接触。
2、连接和仔细检查各接线电路。将主加热器与辅加热器的接线端用导线接至控制箱:将主加热热电偶、辅助加热热电偶、水套冷面热电偶均接到控制箱上的相应接线端子上,并将上下冷却水套的水管紧密连接在水泵的出水口和回流处。
3、检查冷却水水泵及其通道是否正常工作,各热电偶是否正常完好。
4、接通电源,按下加热开关按扭,并注意观察旋转调压器,调整电压到30V至40V左右,开始加温,在加温过程中并注意观察测温表的温度(严禁一次性加温超过75℃),可通过各测温点的测量来控制了解加热情况。当按下控制箱不同按键时,所读取的温度值记录至附表一(附表二是实验时当按下测温转换开关后从各温度显示表上所读取到的相应热电偶的测温值)。实验经过一段时间以后,试件的热面温度和冷面温度开始趋于稳定。在这过程中可以适当调节主加热器电源、辅加热器电源的电压,使其更快或更便于达到稳定状态。待温度基本稳定后,就可以每隔一段时间进行一次电功率W计算和温度测量,从而得到稳定的测试结果。
5、一个工况实验结束后,可以将设备调整到另一个工况,按以上方法,重新设定主温控器及辅温控器温度控制值,并且调节主加热器功率后,再按上述方法进行测试,得到另一工况的稳定测试结果。每次调节的电功率不宜过大,一般在5~10W为宜。
6、根据实验要求,进行多工况的测试。(工况以从低温到高温为宜)
7、测试结束后先切断加热器电源,经过10分钟左右再关闭水泵。
五、实验结果处理
实验数据应取实验进入稳定状态后的连续三次稳定结果的平均值。
表一
|
1 |
2 |
3 |
|
|
t1℃ |
|||
|
t2℃ |
|||
|
t3℃ |
|||
|
t4℃ |
|||
|
电压V |
表二
|
按下 |
测温℃ |
主控温器℃ |
辅控温器℃ |
|
t1 |
t1 |
t2 |
t6 |
|
t2 |
t2 |
t1 |
t5 |
|
t3 |
t3 |
t2 |
t6 |
|
t4 |
t4 |
t2 |
t6 |
- 上一条:多功能附面层实验装置
- 下一条:新能源汽车解剖教学设备
- • 流体力学实验装置:探索流体奥秘的重要工具
- 05-09
- • 探索定流化床实验装置、精馏实验装置与精馏实验塔
- 04-30
- • 固体流态化实验装置,流体流动实验装置
- 05-01
- • 流化床干燥实验台,填料吸收装置,化工实训装置
- 05-01
- • 燃料电池教学实验台,新能源教学设备
- 10-10
- • 厌氧消化实验装置,厌氧消化实训台
- 10-10
- • 流化床干燥实验装置,化工实训设备
- 09-09
- • 流量计校核实验装置,化工实训装置
- 09-09


